- 製品情報
-
- 個人・家庭向けプリンター
<用途から選ぶ>
- <カテゴリーから選ぶ>
- 法人・業務向けプリンター・複合機
- 産業向けプリンター・デジタル印刷機
- 消耗品
- 産業向け製品
- <インクジェットソリューション>
- 個人・家庭向けプリンター
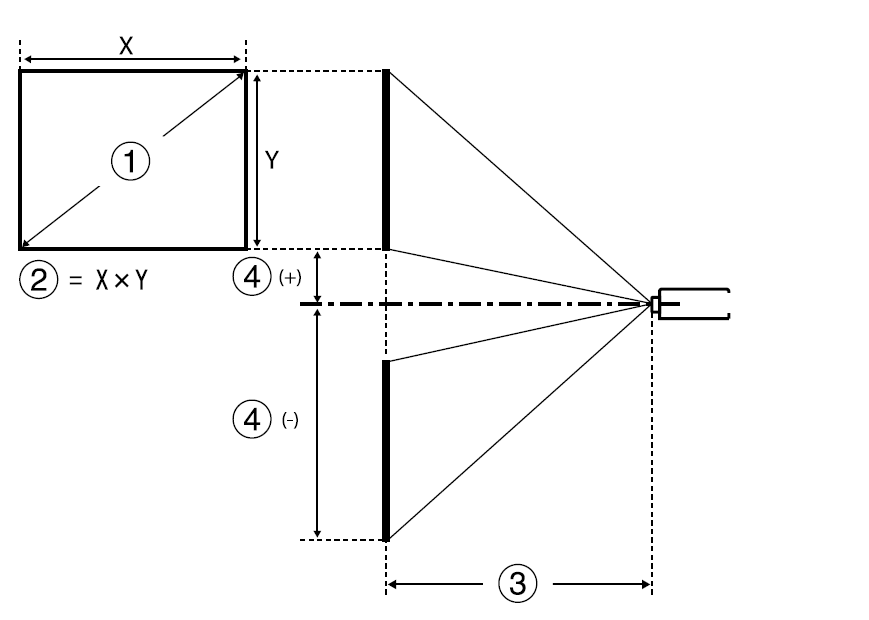
①スクリーンサイズ(インチ)
②スクリーンサイズ(幅×高さ)(cm)
③投写距離(最短:ワイド〜最長:テレ)(cm)
④レンズ中心からスクリーン下端(cm)
| ①スクリーンサイズ(インチ) | ②スクリーンサイズ(幅×高さ)(cm) | ③投写距離(最短:ワイド~最長:テレ)(cm) | ④レンズ中心からスクリーン下端(cm) |
|---|---|---|---|
| 型 | 幅×高さ | ELPLX02S/ELPLX02WS | |
| 100 | 221×125 | 73 | -6 - 31 |
| 110 | 244×137 | 81 | -7 - 34 |
| 120 | 266×149 | 89 | -7 - 38 |
| 150 | 332×187 | 112 | -9 - 47 |
| 200 | 443×249 | 150 | -12 - 63 |
| 300 | 664×374 | 227 | -19 - 94 |
| 500 | 1107×623 | 380 | -31 - 157 |
| 600 | 1328×747 | 457 | -37 - 188 |
| 800 | 1771×996 | 611 | -50 - 251 |
| 1000 | 2214×1245 | 764 | -62 - 313 |
| ①スクリーンサイズ(インチ) | ②スクリーンサイズ(幅×高さ)(cm) | ③投写距離(最短:ワイド~最長:テレ)(cm) | ④レンズ中心からスクリーン下端(cm) | |
|---|---|---|---|---|
| 型 | 幅×高さ | ELPLU03S | ELPLM08 | |
| 80 | 177×100 | 80-97 | 179-290 | -76 - -24 |
| 100 | 221×125 | 101-122 | 225-363 | -94 - -30 |
| 120 | 266×149 | 121-147 | 271-437 | -113 - -36 |
| 150 | 332×187 | 153-184 | 340-547 | -142 - -45 |
| 200 | 443×249 | 205-247 | 455-731 | -189 - -60 |
| 250 | 553×311 | 257-309 | 570-915 | -236 - -75 |
| 300 | 664×374 | 309-372 | 684-1099 | -283 - -90 |
| 500 | 1107×623 | 517-622 | 1144-1835 | -472 - -150 |
| 800 | 1771×996 | 830-998 | 1834-2939 | -756 - -241 |
| 1000 | 2214×1245 | 1038-1248 | 2293-3674 | -945 - -301 |
| ①スクリーンサイズ(インチ) | ②スクリーンサイズ(幅×高さ)(cm) | ③投写距離(最短:ワイド~最長:テレ)(cm) | ④レンズ中心からスクリーン下端(cm) | ||||||
|---|---|---|---|---|---|---|---|---|---|
| 型 | 幅×高さ | ELPLU04 | ELPLW06 | ELPLW08 | ELPLM15 | ELPLM10 | ELPLM11 | ELPLL08 | |
| 60 | 133×75 | 79-96 | 148-205 | 108-153 | 198-324 | 304-470 | 442-682 | 659-934 | -86 -11 |
| 80 | 177×100 | 107-130 | 200-275 | 146-205 | 266-435 | 410-631 | 597-917 | 890-1256 | -114 -14 |
| 100 | 221×125 | 135-164 | 252-346 | 183-258 | 335-546 | 516-791 | 752-1152 | 1121-1578 | -143 -18 |
| 120 | 266×149 | 163-198 | 304-416 | 220-310 | 403-656 | 622-952 | 908-1387 | 1351-1900 | -171 -22 |
| 150 | 332×187 | 205-249 | 382-522 | 276-389 | 506-822 | 781-1194 | 1140-1740 | 1697-2384 | -214 -27 |
| 200 | 443×249 | 276-333 | 512-699 | 370-520 | 677-1099 | 1046-1596 | 1529-2327 | 2273-3189 | -285 -36 |
| 300 | 664×374 | 416-503 | 772-1052 | 557-783 | 1020-1653 | 1575-2400 | 2305-3503 | 3426-4799 | -428 -54 |
| 500 | 1107×623 | 697-841 | 1291-1757 | 931-1309 | 1705-2760 | 2634-4010 | 3857-5853 | 5732-8019 | -713 -90 |
| 800 | 1771×996 | 1119-1349 | 2070-2816 | 1491-2097 | 2733-4421 | 4222-6423 | 6186-9380 | 9190-12850 | -1141- 145 |
| 1000 | 2214×1245 | 1399-1688 | 2589-3522 | 1865-2623 | 3419-5528 | 5280-8032 | 7738-11730 | 11496-16070 | -1426- 181 |
| ①スクリーンサイズ(インチ) | ②スクリーンサイズ(幅×高さ)(cm) | ③投写距離(最短:ワイド~最長:テレ)(cm) | ④レンズ中心からスクリーン下端(cm) |
|---|---|---|---|
| 型 | 幅×高さ | ELPLW05 | |
| 60 | 133×75 | 94-134 | -57 - -18 |
| 80 | 177×100 | 128-181 | -76 - -24 |
| 100 | 221×125 | 161-228 | -94 - -30 |
| 120 | 266×149 | 195-274 | -113 - -36 |
| 150 | 332×187 | 246-344 | -142 - -45 |
| 200 | 443×249 | 331-461 | -189 - -60 |
| 300 | 664×374 | 500-695 | -283 - -90 |
| 500 | 1107×623 | 839-1162 | -472 - -150 |
| 800 | 1771×996 | 1346-1862 | -756 - -241 |
| 1000 | 2214×1245 | 1685-2329 | -945 - -301 |